铸钢闸阀
铸钢闸阀:是*常用的截断阀之一,主要用来接通或截断管路中的介质,不适用于调节介质流量。铸钢闸阀适用的压力、温度及口径范围很大,尤其适用于中、大口径的管道。 公称尺寸 DN15~DN800,公称压力 1.6MPa~20.0MPa,密封面采用石棉石墨或柔性石墨,工作温度 ≤570℃,操作方式有手动、齿轮传动、电动、气动等,适用于水、蒸汽、油品介质管路中。
产品特点
1. 结构紧凑,设计合理,阀门刚性好,通道流畅,流阻系数小。
2. 密封面为不锈钢或硬质合金,使用寿命长。
3. 采用石棉石墨或柔性石墨,密封可靠,操作轻便灵活。
4. 可采用各种配管法兰标准及法兰密封面形式,满足各种工程需要及用户要求。
5. 广泛应用于石油、化工、水力、火力电站各种系统的管路上。
Z41H、Z41Y、Z41W 型 PN16~PN200 钢制楔式闸阀:手动、法兰连接形式、明杆楔式刚性单闸板,阀座密封面材料为不锈钢,公称压力 PN16~PN200,阀体材料为碳素钢(Z41H-16C Z41H-25 Z41Y-16C Z41Y-25 Z41H-40~200)、不锈钢(Z41W-16P Z41W-25P Z41Y-16P Z41Y-25P Z41W-16R Z41W-25R Z41Y-16R Z41Y-25R Z41H-40P~200P Z41H-40R~200R)、合金钢(Z41Y-16I Z41Y-25I Z41Y-16V Z41Y-25V Z41H-40I~200I)的闸阀。
Z41 闸阀适用于工作压力 1.6~20.0MPa,工作温度 -29℃~570℃的石油、化工、水力、火力电站各种系统的管路上,切断或接通管路介质。适用介质为:水、油品、蒸气、及酸、碱、氨、尿素、含硫天然气等。
铸钢闸阀 主要性能参数
|
Z41H、Z41Y、Z41W 型 PN16~PN200 钢制楔式闸阀主要性能参数 |
||||
|
型号 |
PN |
工作压力 / MPa |
适用温度 / ℃ |
适用介质 |
|
Z41H-16C、25 |
16、25 |
1.6、2.5 |
≤ 425 |
水、蒸汽、油品 |
|
Z41Y-16C、25 |
||||
|
Z41W-16P、25P |
16、25 |
1.6、2.5 |
≤ 150 |
弱腐蚀性介质 |
|
Z41Y-16P、25P |
||||
|
Z41W-16R、25R |
||||
|
Z41Y-16R、25R |
||||
|
Z41Y-16I、25I |
≤ 550 |
油品、蒸汽 |
||
|
Z41Y-16V、25V |
≤ 570 |
水、蒸汽、油品 |
||
|
Z41H-40~200 |
40~200 |
4.0~20.0 |
≤ 425 |
水、蒸汽、油品 |
|
Z41H-40I~200I |
40~200 |
4.0~20.0 |
≤ 550 |
水、蒸汽、油品 |
|
Z41H-40P~200P |
40~200 |
4.0~20.0 |
≤ 200 |
硝酸类 |
|
Z41H-40R~200R |
40~200 |
4.0~20.0 |
≤ 200 |
硝酸类 |
铸钢闸阀 主要零件材料
|
Z41H、Z41Y、Z41W 型 PN16~PN200 钢制楔式闸阀零部件材料 |
||||
|
型号 |
材料 |
|||
|
阀体、阀盖、闸板 |
阀杆 |
密封面 |
填料 |
|
|
Z41H-16C、25 |
碳素钢 |
铬不锈钢 |
堆焊铁基合金 |
石棉石墨或柔性石墨 |
|
Z41Y-16C、25 |
堆焊硬质合金 |
|||
|
Z41W-16P、25P |
铬镍钛不锈钢 |
铬镍钛不锈钢 |
本体材料 |
石棉石墨或柔性石墨 |
|
Z41Y-16P、25P |
堆焊硬质合金 |
|||
|
Z41W-16R、25R |
铬镍钼钛不锈钢 |
铬镍钼钛不锈钢 |
本体材料 |
|
|
Z41Y-16R、25R |
堆焊硬质合金 |
|||
|
Z41Y-16I、25I |
铬钼合金钢 |
铬钼合金钢 |
堆焊硬质合金 |
|
|
Z41Y-16V、25V |
铬钼钒钢 |
铬钼钒钢 |
堆焊硬质合金 |
柔性石墨 |
|
Z41H-40~200 |
碳钢 |
铬不锈钢 |
碳钢+Cr13或硬质合金 |
柔性石墨 |
|
Z41H-40I~200I |
铬钼钢 |
合金钢 |
合金钢+硬质合金 |
柔性石墨 |
|
Z41H-40P~200P |
铬镍钛钢 |
不锈钢 |
不锈钢或不锈钢+硬质合金 |
柔性石墨 |
|
Z41H-40R~200R |
铬镍钼钛钢 |
不锈钢 |
不锈钢或不锈钢+硬质合金 |
柔性石墨 |

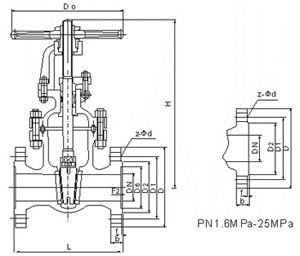
铸钢闸阀 主要外形尺寸
|
Z41H、Z41Y、Z41W 型 PN16 钢制楔式闸阀主要外形及结构尺寸(mm) |
||||||||||
|
DN |
L |
D |
D1 |
D2 |
b |
f |
z×ød |
H |
D0 |
重量 / kg |
|
15 |
130 |
95 |
65 |
45 |
14 |
2 |
4×ø14 |
175 |
200 |
4 |
|
20 |
150 |
105 |
75 |
55 |
14 |
2 |
4×ø14 |
180 |
200 |
5 |
|
25 |
160 |
115 |
85 |
65 |
14 |
2 |
4×ø14 |
210 |
200 |
6 |
|
32 |
180 |
135 |
100 |
78 |
16 |
2 |
4×ø18 |
210 |
200 |
7 |
|
40 |
200 |
145 |
110 |
85 |
16 |
3 |
4×ø18 |
350 |
200 |
19 |
|
50 |
250 |
160 |
125 |
100 |
16 |
3 |
4×ø18 |
358 |
240 |
29 |
|
65 |
265 |
180 |
145 |
120 |
18 |
3 |
4×ø18 |
375 |
240 |
33 |
|
80 |
280 |
195 |
160 |
135 |
20 |
3 |
8×ø18 |
433 |
280 |
45 |
|
100 |
300 |
215 |
180 |
155 |
20 |
3 |
8×ø18 |
502 |
320 |
63 |
|
125 |
325 |
245 |
210 |
185 |
22 |
3 |
8×ø18 |
612 |
360 |
108 |
|
150 |
350 |
280 |
240 |
210 |
24 |
3 |
8×ø23 |
676 |
360 |
134 |
|
200 |
400 |
335 |
295 |
265 |
26 |
3 |
12×ø23 |
820 |
400 |
192 |
|
250 |
450 |
405 |
355 |
320 |
30 |
3 |
12×ø25 |
969 |
450 |
273 |
|
300 |
500 |
460 |
410 |
375 |
30 |
4 |
12×ø25 |
1142 |
560 |
379 |
|
350 |
550 |
520 |
470 |
435 |
34 |
4 |
16×ø25 |
1280 |
640 |
590 |
|
400 |
600 |
580 |
525 |
485 |
36 |
4 |
16×ø30 |
1452 |
640 |
850 |
|
450 |
650 |
640 |
585 |
545 |
40 |
4 |
20×ø30 |
1541 |
720 |
907 |
|
500 |
700 |
705 |
650 |
608 |
44 |
4 |
20×ø34 |
1676 |
720 |
958 |
|
600 |
800 |
840 |
770 |
718 |
48 |
5 |
20×ø41 |
1874 |
800 |
1112 |



